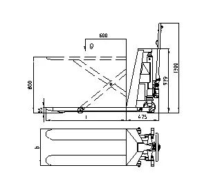
1 / 5
Lifting by both manual and electric. Lowering by manual.
🚀 Single cylinder appears stronger and more durable for heavy-duty tasks.
🛡️ Safety: Patented safety system on handle to prevent accidental touch of the release handle, thus causing sudden sliding down of the fork. You can screw the release handle tight in slow or quick lifting position.
✅ CE certificate approved for guaranteed quality and safety standards.









